Unsere aktuellen Termine (2026): 18.-19.04.2026; 13.-14.06.2026; 13.09.2026; 19.09.2026; 10.-11.10.2026
Außerhalb der Veranstaltungen:
vom 04.04.2026 bis 24.10.2026 samstags von 10:00-17:00 Uhr.Weitere Informationen gibt es
hier.
18.-19.04.2026: Saisoneröffnung
-- 31 --
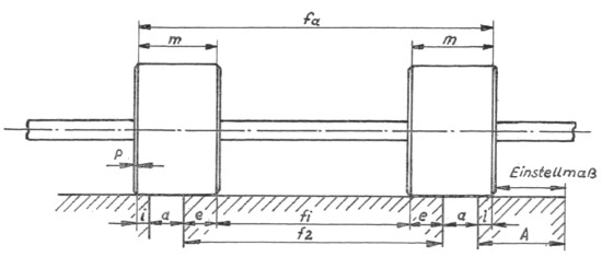
Behelf zum Vermessen der inneren Steuerung

Istmaße in mm
| Maß |
links |
hinten |
vorn |
Mitte |
hinten |
vorn |
rechts |
hinten |
vorn |
| m |
|
|
|
|
|
|
|
|
|
| fi |
|
|
|
|
|
|
|
|
|
| fa |
|
|
|
|
|
|
|
|
|
| p |
|
|
|
|
|
|
|
|
|
| e |
|
|
|
|
|
|
|
|
|
| f2 |
|
|
|
|
|
|
|
|
|
| A |
|
|
|
|
|
|
|
|
|